汇金阀门:专业的调节阀生产厂家。

ZAJD型电动蝶阀有开关型和智能型二种,蝶阀与DTR执行机构配套,输入控制信号(4~20mADC或1~5VDC)及单相电源即可控制运转,具有功能强、体积小、轻便宜人,性能可靠、配套简单、流通能力大,特别是适合于介质是粘稠、含颗粒、纤维性质的场合。目前该阀门广泛应用于食品、环保、轻工、石油、造纸、化工、教学和科研设备、电力等行业的工业自动控制系统中。
一、阀体
公称通径:50~400mm
公称压力:PN1.0,1.6,2.5MPa
连接形式:法兰式按JB/T78-59 JB79-59对夹式法兰连接
材 料:HT200 ZG25I ZG1Cr18Ni9
ZG0Cr17Ni12Mo2 衬四氟
介质温度:常温型:-20~+200 散热型:-40~+450
二、阀内组件
阀芯形式:阀板
流量特性:直线特性或等百分比特性
材 料:HT200 ZG25I 1Cr18Ni9Ti衬橡胶衬四氟乙烯
三、执行机构
类型:可选用PS系列、3810、DTR系列电子式角行程执行机构。
技术参数和性能:请参阅对应的执行机构与阀门定位器说明书。
四、ZAJD蝶阀规格参数表
| 公称通径DN |
50 | 65 | 80 | 100 | 125 | 150 | 200 | 250 | 300 | 350 | 400 |
| 流量系数(Kv) |
110 | 180 | 232 8 | 368 | 656 | 735 | 1240 | 2025 | 2712 | 3875 | 503 |
| 动作范围 |
0-90o | ||||||||||
| 允许压差△P |
小于公称压力(1.6MPa) | ||||||||||
| 泄漏量Q |
按GB/T4213-92,为Kv值的10-4 | ||||||||||
| 环境温度oC |
-20~60oC | ||||||||||
| 基本误差 |
±2.5% | ||||||||||
| 回差 |
±2.5% | ||||||||||
| 死区 |
1% | ||||||||||
| 可调范围 |
250:1 350:1 | ||||||||||
| 配用执行机构 | DTR—05 10PSQ101381RSA-05 | DTR— 20PSQ201381RSC-30 | DTR-40PSQ501381RSC-50 | DTR-60PSQ701 | |||||||

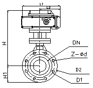
五、ZAJD971电动对夹式蝶阀尺寸
| 公称通径DN |
L阀度 |
H |
H1 |
D2 |
Z-фd |
D1 |
L1 |
L2 |
| 50 |
43 |
452 |
80/112 |
120/125 |
4-18 |
165 |
208 |
120 |
| 65 |
46 |
475 |
88/115 |
136/145 |
4-18 |
185 |
208 |
120 |
| 80 |
46/49 |
516 |
96/120 |
160 |
8-18 |
200 |
208 |
120 |
| 100 |
52/56 |
551 |
115/140 |
185 |
8-18 |
220 |
208 |
120 |
| 125 |
56/64 |
566 |
128/170 |
210 |
8-18 |
220 |
208 |
120 |
| 150 |
56/70 |
606 |
140/180 |
240 |
8-22 |
285 |
256 |
156 |
| 200 |
60/71 |
731 |
175/210 |
295 |
8-22 |
340 |
256 |
156 |
| 250 |
68/76 |
778 |
202/240 |
355 |
12-22 |
395/405 |
256 |
156 |
| 300 |
78/83 |
830 |
242/290 |
410 |
12-22 |
445/460 |
256 |
156 |
| 350 |
78/92 |
996 |
266/320 |
470 |
16-22 |
505/520 |
346 |
156 |
| 400 | 102 | 1058 | 298/350 | 515/525 | 16-26 | 565/580 | 346 | 156 |
注:表中数据XX/XX,“H1”为软密封/硬密封;“D1、D2”为压力1.0Mpa/1.6Mpa
六、ZAJD941电动法兰式蝶阀外形尺寸
| 公称通径DN |
L阀厚 |
H |
H1 |
D2 |
D1 |
Z-фd |
L1 |
L2 |
| 50 |
108 | 539 |
825/112 |
165 |
125 |
4-18 |
208 |
120 |
| 65 |
112 |
554 |
925/115 |
185 |
145 |
4-18 |
208 |
120 |
| 80 |
114 |
569 |
100/120 |
200 |
160 |
8-18 |
208 |
120 |
| 100 |
127 |
614 |
110/138 |
220 |
180 |
8-18 |
208 |
120 |
| 125 |
140 |
649 |
125/164 |
250 |
210 |
8-18 |
208 |
120 |
| 150 |
140 |
725 |
1425/175 |
285 |
240 |
8-22 |
256 |
156 |
| 200 |
152 |
835 |
170/208 |
340 |
295 |
8-22/2-22 |
256 |
156 |
| 250 |
165 |
890 |
1925/243 |
395/405 |
350 |
12-22/12-26 |
256 |
156 |
| 300 |
178 |
995 |
2225/283 |
445/460 |
400 |
12-22/12-26 |
256 |
156 |
| 350 |
190 |
1155 |
2525/310 |
505/520 |
460 |
16-22/16-26 |
346 |
156 |
| 400 | 216 | 1225 | 2825/340 | 565/580 | 515 | 16-26/16-30 | 346 | 156 |
注:表中数据XX/XX,“H1”列为软密封/硬密封;“D2、Z-фd”列表示压力1.0MPa/1.6MPa
七、型号编制说明
| Z | A | J | D | 9 | 71 | F | 16 | P | G |
| 自控阀门 | 执行机构类型: | 位移 特征: | 阀门代号: | 传动形式: | 连接形式: | 密封面材料: | 公称 压力: | 阀体 材质: | 温度类型: |
| D:表示PS系列 | J:表示角行程 | Q:表示球阀 | 9:表示电动 | 41:表示法兰 | F:表示四氟乙烯 | 16:表示1.6MPa | C:表示碳钢 | G:表示中温型 | |
| R:表示3810系列 | S:表示直行程 | D:表示碟阀 | 6:表示气动 | 11:表示丝扣 | H:表示金属硬密封 | 25:表示2.5MPa | P:表示不锈钢 | 常温省略 | |
| A:DTR系列 | V:表示凸轮绕曲阀 | 71:表示对夹式 | 40:表示4.0MPa | R:表示316 | |||||
|
64:表示6.4MPa
|
F46:表示阀体衬四氟
|
八、订货须知
1.产品型号与名称 2.公称通径DN(mm) 3.公称压力 4.流量特性 5.阀体材质 6.额定流量系数
7.介质种类和温度范围 8.阀前后压力(压差)9.电源电压和控制信号 10.其它特殊要求